香蕉草莓视频,香蕉性爱视频,香蕉视频污污版,香蕉视频APP无限观看

铅防护门

新闻分类

联系香蕉草莓视频

联系人:徐经理

电话:139 6412 8213 

地址:济南市长清区大学科技园

网址:www.mobilesann.com 

电动防辐射铅门结线方式的简化和统一

您的当前位置: 首 页 >> 新闻资讯 >> 公司新闻

电动防辐射铅门结线方式的简化和统一

发布日期:2020-09-15 作者: 点击:

目前电动防辐射铅门使用方式很典型,不外乎直开直关、可调整、两地操作等几种方式。但目前电动铅门控制结线方式和阀位信号表示方式繁杂,虽然新型电动铅门要逐渐取代老型的,但还没有完全统一,这就给运行维护、安装调试带来不便,与自动化的发展不相适应。为此,医院工程施工中,对原设计结线方式作了一些改进。

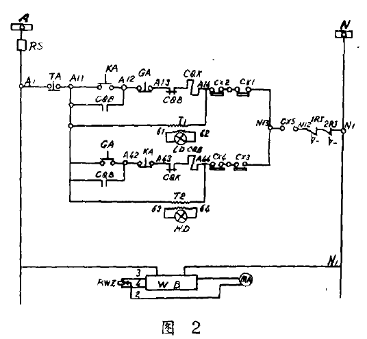
(1)将一些复杂的结线方式进行简化.为适合运行需要,医院电动铅防护门只使用四种结线方式,即图1的直开直关方式,图2的可调整方式,图3的两地操作方式,以及串联可调方式等四种控制结线方式。这几种方式既符合现场设备实际,又具有较为统一、简单可靠,便于接入联锁、保护和控制系统中去等特点.运行实践表明,应用前三种接线方式就可满足医院运行需要。

防辐射铅门.png

(2)由于可调整电动香蕉视频污污版上的阀位表装置,各电动铅门产品设计用的表头,变阻器和结线方式等各不相同,难于配套和统一,所以我省多数医院阀位表大都因此没有投运.


本文网址:http://www.mobilesann.com/news/1102.html

  • 在线客服
  • 联系电话
    13964128213
  • 在线留言
  • 手机网站
  • 在线咨询
    网站地图